本篇文章学习一下如何获取真实ip,隐藏自己的ip,攻击者如何伪造ip,挖掘出真实ip。
真实ip获取
应用层
这里以web为例,以下是一个简单的http服务器,获取真实ip
httpserver.py
from http.server import BaseHTTPRequestHandler, HTTPServer
class MyHTTPRequestHandler(BaseHTTPRequestHandler):
def do_GET(self):
self.send_response(200)
self.send_header('Content-type', 'text/html')
self.end_headers()
# 获取真实IP地址
ip = self.headers.get('X-Forwarded-For', self.client_address[0])
# 返回真实IP地址
self.wfile.write(bytes(ip, 'utf-8'))
def run_server():
host = '0.0.0.0'
port = 8000
server = HTTPServer((host, port), MyHTTPRequestHandler)
print(f'Starting server on {host}:{port}...')
try:
server.serve_forever()
except KeyboardInterrupt:
pass
server.server_close()
print('Server stopped.')
if __name__ == '__main__':
run_server()
服务器启动代码
python3 httpserver.py
如果有这个X-Forwarded-For,就用这个,否则就用client_address[0]
客户端代码
import requests
url = 'http://127.0.0.1:8000'
headers = {'X-Forwarded-For': '192.168.1.1'}
response = requests.get(url, headers=headers)
print(response.text)
结果截图

网络层
网络连接
还是上面的代码,通过网络连接获取真实ip
不带header再次发送

通过网络连接获取真实ip当然很简单,也真实,但是往往客户端与服务器不是直接连通,中间有LB、CDN等。
雷池WAF就是通过连接获取请求者源IP的。

TOA
有些产品会把ip放到TOA(TCP Options),转发给下游,例如LB(Load Balancer),因此,下游服务获取真实ip时需要从TOA中获取

proxy protocol
有v1 v2两个版本,都存在伪造问题,且主流LB没有使用这种方式,仅nginx这种开源的看到了,所以没有深究,请查看参考。
ip伪造
应用层
以WEB为例,修改header即可。
import requests
url = 'http://127.0.0.1:8000'
headers = {'X-Forwarded-For': '8.8.8.8'}
response = requests.get(url, headers=headers)
print(response.text)
截图

网络层
TOA攻击
一些服务会通过TOA来获取真实ip,因此,可以通过修改TCP的选项(Options)来隐藏真实ip。
这里使用的是linux下方式,修改所有包,工具见参考。
首先,我先试验了一下,使用自己宿主机的服务器,抓包查看


发现确实有修改,Options字段有值,之后找了几个查ip的网站,发现ip138不受影响,另一个网站是被欺骗了。
curl -A "Mozilla/5.0 (Windows NT 6.1) AppleWebKit/536.11 (KHTML, like Gecko) Chrome/20.0.1132.47 Safari/536.11Mozilla/5.0 (Windows NT 6.1) AppleWebKit/536.11 (KHTML, like Gecko) Chrome/20.0.1132.47 Safari/536.11" https://2023.ip138.com | grep 您的IP
curl -A "Mozilla/5.0 (Windows NT 6.1) AppleWebKit/536.11 (KHTML, like Gecko) Chrome/20.0.1132.47 Safari/536.11Mozilla/5.0 (Windows NT 6.1) AppleWebKit/536.11 (KHTML, like Gecko) Chrome/20.0.1132.47 Safari/536.11" https://zh-hans.ipshu.com/my_info | grep 下面是你的公开IP
截图如下:

windows下可以自己写脚本来进行toa的修改
fake_toa.py
from scapy.all import *
import socket
import struct
# 目标域名和端口
target_ip = '106.63.19.14'
target_port = 443
# 伪造的源 IP 地址
fake_ip = '111.111.111.222'
# 将伪造的 IP 地址转换为整数
fake_ip_as_int = struct.unpack("!I", socket.inet_aton(fake_ip))[0]
# 创建自定义的 TCP 选项
option_254 = (254, b'\x00\x50' + struct.pack('!I', fake_ip_as_int))
# 创建 IP 层
ip_layer = IP(dst=target_ip)
# 创建 TCP 层,不添加 TCP 选项
syn = TCP(sport=RandShort(), dport=target_port, flags='S')
# 组合 IP 层和 TCP 层,发送 SYN 数据包
syn_ack = sr1(ip_layer / syn)
# 检查是否收到 SYN+ACK 数据包
if syn_ack[TCP].flags == 'SA':
# 创建 ACK 数据包,也不添加 TCP 选项
ack = TCP(sport=syn_ack[TCP].dport, dport=target_port, flags='A', seq=syn_ack[TCP].ack, ack=syn_ack[TCP].seq + 1)
# 发送 ACK 数据包
send(ip_layer / ack)
# 创建 HTTP 请求,只包含 Host 头部
# http_request = 'GET /ip/local/geo/v1/district HTTP/1.1\r\n' \
# 'Host: qifu-api.baidubce.com\r\n\r\n'
http_request = 'GET / HTTP/1.1\r\n' \
'Host: 2023.ip138.com\r\n\r\n' \
# 创建 HTTP 数据包,这次在 TCP 层添加自定义的选项
http_packet = ip_layer / TCP(sport=syn_ack[TCP].dport, dport=target_port, flags='PA', seq=syn_ack[TCP].ack,
ack=syn_ack[TCP].seq + 1, options=[option_254]) / Raw(load=http_request)
# 接收 HTTP 响应
http_response = sr1(http_packet)
# 打印 HTTP 响应
if http_response:
print(http_response.show())
else:
print('No response')
else:
print('Did not receive SYN+ACK. Received: {}'.format(syn_ack[TCP].flags))


抓包可以看到,确实添加了Options字段的内容
proxy protocol
有v1、v2两个版本,都可以伪造,用的不多也没找到开源工具就没深究了。
隐藏
代理
比较宽泛,无法列举全。例如,使用cdn来隐藏自己服务器的ip,使用“梯子”做中间人来访问一些你的ip无法访问的网站,或者开四层、七层代理做转发,使用LB来做负载均衡的同时隐藏后端服务ip等
挖掘
代理
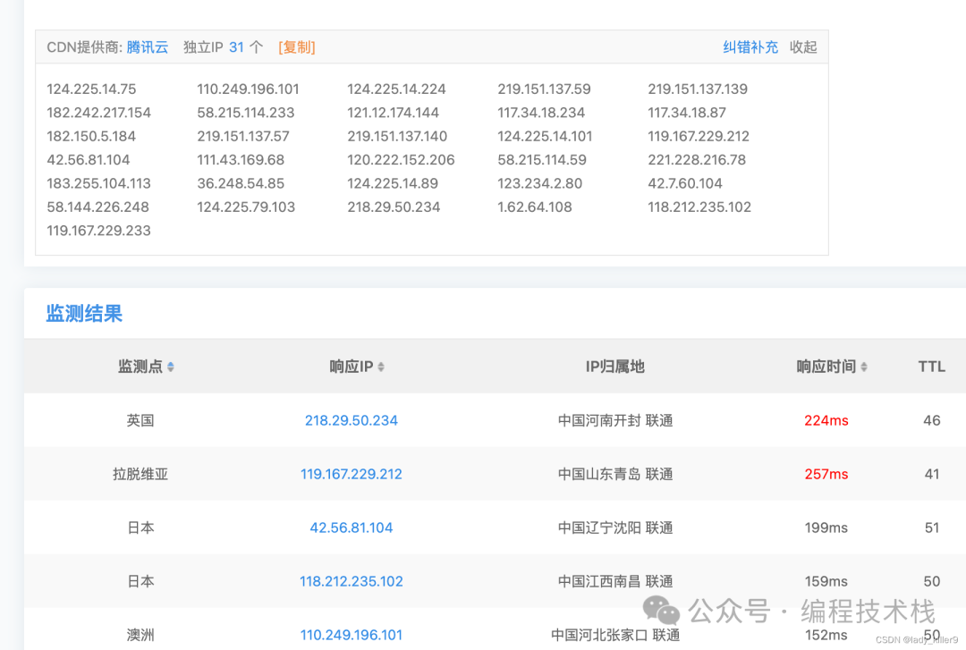
以cdn为例,这里找了一个博客网站,尝试获取真实ip
多地ping

可以看到使用了腾讯云的CDN
历史DNS解析记录
查看 IP 与 域名绑定的历史记录,可能会存在使用 CDN 前的记录

国外主机解析域名
有的网站负责人为了省钱,只对国内使用cdn,于是国外的流量都直接打到了真实服务器上。第一步ping的时候有了,国外也是通过cdn的。
网站RSS订阅
有的网站可以邮件订阅RSS,发送邮件的服务器就是使用网站所在的服务器,这里该网站没有此功能,失败。
网络空间搜索引擎
这里使用了zoomeye,我查ip没有显示cdn,以为成功了,问了博客作者,还是cdn的ip

总结
- proxy protocol没有研究,和TOA差不多,按照协议发包就行了,实现就交给读者吧。
- TOA的伪造方式还是不错的,非linux下没有btftools,可以自己写一个代理,把浏览器的流量转发到本地代理,代理的功能就是把TOA改一下。
- 一些代理隐藏ip还是不错的,除非网站从开始没有使用cdn、部分使用cdn,或网站服务器有其他服务导致真实ip发出包了。该博客作者我也问了,一开始就使用了CDN,也没有其他子域名、服务,应该是无法找到真实IP了。
该文章在 2024/12/28 12:19:34 编辑过